Пломбы

В данном разделе представлены образцы изделий, производство которых успешно освоено на нашем предприятии. Мы готовы изготовить для вас как представленную продукцию, так и новые изделия по вашим чертежам и техническим заданиям.
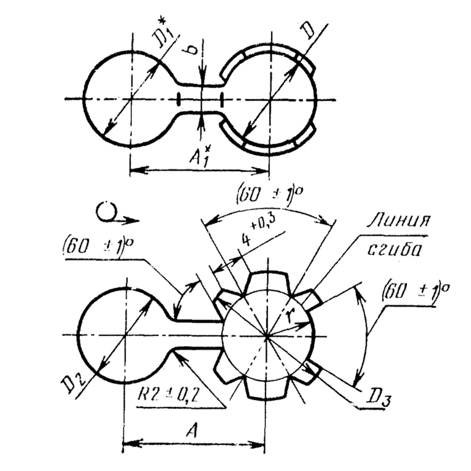
Пломба трубчатая алюминиевая 3-АД1М ГОСТ 18677-73

Пломба трубчатая алюминиевая 3-АД1М ГОСТ 18677-73

Пломбы
Пломбы
Пломбы — это одноразовые запорно-идентификационные устройства, предназначенные для защиты грузов, транспортных средств, измерительных приборов, электрощитового оборудования и других объектов от несанкционированного доступа, вскрытия или вмешательства. Пломбирование обеспечивает визуальный контроль целостности узла, фиксацию факта вскрытия и юридическую значимость при приёмке-передаче материальных ценностей.
Наше предприятие изготавливает пломбы в строгом соответствии с требованиями государственных стандартов (ГОСТ), гарантируя надёжность конструкции, стойкость к внешним воздействиям и соответствие материалов заявленным спецификациям.

Номенклатура и стандарты

В данном разделе представлена продукция, соответствующая действующему нормативному документу:
  • ГОСТ 18677-73 — Пломбы свинцовые для транспортных средств и грузов (универсальное исполнение для опломбирования вагонов, контейнеров, автоцистерн, счётчиков и запорной арматуры).

Конструктивные особенности

Пломбы по ГОСТ 18677-73 представляют собой компактные изделия, состоящие из:
Элемент конструкции
Назначение
Преимущества
Корпус (свинцовый)
Восприятие сжимающей нагрузки при опрессовке
Пластичность, надёжная фиксация проволоки, стойкость к коррозии
Сквозное отверстие
Пропуск пломбировочной проволоки или ленты
Универсальность применения с различными типами запоров
Клееная или штампованная поверхность
Нанесение идентификационной информации
Возможность нанесения логотипа, номера, даты для учёта и контроля
Типоразмеры:
  • Номинальные диаметры отверстий: от 2,0 мм до 4,5 мм (в зависимости от исполнения).
  • Габаритные размеры: компактное исполнение для монтажа в стеснённых условиях.
  • Масса: оптимизирована для удобства транспортировки и хранения.

Материалы изготовления

Для обеспечения пластичности при опрессовке и долговечности в условиях эксплуатации пломбы изготавливаются из следующих материалов:
  • Свинец (марки С0, С1, С2 по ГОСТ 3778-77) — базовый материал, обеспечивающий надёжное обжатие без растрескивания, стойкость к атмосферным воздействиям и химическую инертность.
  • Алюминиевые сплавы (по согласованию с заказчиком) — для облегчённых конструкций и условий, где недопустимо использование свинца.

Защитные покрытия и маркировка

Для повышения коррозионной стойкости и обеспечения идентификации пломбы могут подвергаться дополнительной обработке:
  • Пассивация — для защиты свинцовой поверхности от окисления при хранении.
  • Клеение/штамповка — нанесение индивидуального кода, логотипа предприятия, порядкового номера для учёта и предотвращения подделки.
  • Цветная маркировка — окраска корпуса или пломбировочной проволоки для визуального разделения по сменам, маршрутам или ответственности.

Контроль качества

Производство сопровождается многоступенчатым контролем:
  • Входной контроль сырья — химический состав свинца, механические свойства, сертификаты поставщиков.
  • Геометрический контроль — точность диаметров отверстий, габаритных размеров, отсутствие заусенцев и дефектов литья.
  • Испытания на опрессовку — проверка пластичности корпуса: пломба должна надёжно фиксировать проволоку без образования трещин при сжатии.
  • Контроль маркировки — чёткость, читаемость и стойкость нанесённых обозначений.
  • Приёмка по ГОСТ 17769-72 — выборочный и периодический контроль партий.

Область применения

Пломбы находят широкое применение в:
  • Железнодорожном и автомобильном транспорте (опломбирование вагонов, контейнеров, цистерн);
  • Энергетике и ЖКХ (защита счётчиков электроэнергии, воды, газа);
  • Таможенном оформлении и логистике;
  • Промышленной безопасности (опломбирование запорной арматуры, люков, щитов управления);
  • Складском учёте и инвентаризации.

Нужна помощь с подбором? Если вы не нашли нужный типоразмер, требуется изготовление пломб с индивидуальной маркировкой или подбор аналога под ваш проект — свяжитесь с нашим отделом продаж. Мы поможем подобрать решение, соответствующее требованиям вашей нормативной документации.

СВЯЖИТЕСЬ С НАМИ СЕЙЧАС!

© 2026 ТерМех - Промышленная высокоточная металлообработка
Информация, представленная на сайте https://trmh.ru, защищена авторским правом. Торговые марки, логотипы, изображения и фирменные наименования, используемые на сайте, принадлежат соответствующим правообладателям и используются исключительно в информационных целях. Данный информационный ресурс не является публичной офертой. Наличие и стоимость оборудования предварительно уточняйте по телефону у менеджеров. Производитель оставляет за собой право изменять технические характеристики и внешний вид товаров без предварительного уведомления.